
咨詢電話:18007002733[微信同號]
咨詢電話:0791-88359008
售后電話:0791-88307187
市場監督:0791-88309898
傳真號碼:0791-88310011
咨詢電話:0791-88359008
售后電話:0791-88307187
市場監督:0791-88309898
傳真號碼:0791-88310011



原裝適配旭潔洗地機掃地車,X530洗地機、X750洗地機、X971洗地機、X970洗地機、S1400掃地車、S1900清掃車等產品。
- 生產廠家直銷
- 十余年專注研發生產
- 使用壽命長
- 免費維修
旭潔洗地機/掃地車刷盤原裝配件功能簡介
洗地機掃地車刷盤,又名刷子,擦地/刷地效果決定了清洗效果,擦地/刷地時由電機轉動帶動刷盤不停刷地,省時省力,出效果。刷盤有大小之分,有的機型用的是單刷,有雙刷的,選購時需要看準型號。
原裝適配旭潔洗地機掃地車,X530洗地機、X750洗地機、X971洗地機、X970洗地機、S1400掃地車、S1900清掃車等產品。
原裝適配旭潔洗地機掃地車,X530洗地機、X750洗地機、X971洗地機、X970洗地機、S1400掃地車、S1900清掃車等產品。
旭潔洗地機/掃地車刷盤原裝配件產品展示
| 洗地機型號 | 刷盤直徑 | 備注 |
| X530手推式洗地機 | 530毫米 | |
| X750手推式洗地機 | 550毫米 | |
| X971小型駕駛式洗地機 | 550毫米 | |
| X970駕駛式洗地機 | 550毫米 | |
| S1400小型掃地車 | 770毫米 | 主刷 |
| S1400小型掃地車 | 550毫米 | 邊刷 |
| S1900全封閉掃地車 | 800毫米 | 主刷 |
| S1900全封閉掃地車 | 550+600毫米 | 邊刷 |
刷盤展示

直徑530mm刷盤

直徑550mm刷盤
洗地機/掃地車刷盤價格
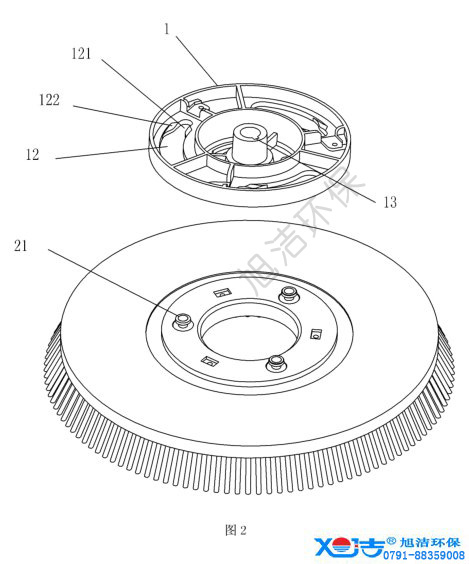
具體根據刷盤尺寸和類型價格不同,一般價格在200~400元。洗地機/掃地車刷盤使用壽命長,一般使用壽命為6個月,摩擦力小地面可以用12個月以上,使用成本低。刷盤分解圖

刷盤拆分結構示意圖

刷盤安裝面與刷盤固定座的結構示意圖
刷盤類型
1. 尼龍刷盤:耐磨性強,為洗地機常用配置毛刷,使用于瓷磚,水泥地,耐磨地,大理石等。2. 軟毛刷盤:柔軟,適用于環氧地坪,石材,油漆,打過臘的地坪等軟性地面適用。百潔墊為泡沫材質,質軟,不傷地面。不能讓刷盤在原地轉動太長時間,否則會損害地坪。
3. 鋼絲刷盤:耐磨性強,針對特別臟或是常年累積的油污地面,需地面硬度強,非特殊強硬地面慎用,很容易磨掉!
提醒:單純的用刷盤不能清潔干凈,那就需要配合一定比例的化油劑或是清潔劑來清潔地面。
洗地機/掃地車刷盤安裝
旭潔洗地機刷盤都可以自動安裝,非常方便。1. 將刷盤至于基座下面,然后放下基座;
2. 將洗地機前后左右移動調整到基座和刷盤完全重合;
3. 打開電源,按下洗地按鈕后快速放開,這時候刷盤就會自動安裝上去。
正確安裝后的刷盤,工作時候無異響,不會大幅擺動,不會掉落即可。
手動安裝
1. 將刷盤放在基座的正下方,然后雙手托起刷盤,保持刷盤的水平
2. 然后向上頂住刷盤的同時快速順時針或者逆時針(機器型號不同方向可能不同)旋轉刷盤
3. 如果一次沒有卡上,可反復試幾次。
洗地機刷盤怎么卸下來
只需雙手扶住刷盤左右擺動就能取下。有的刷盤與法蘭之間連接的太緊了,由于長時間沒有拆卸過,導致沙粒等進入刷盤與法蘭的縫隙處,時間一久就會越積越多,并牢牢的塞緊,雙手很難將其拆除下來,須借助工具。
洗地機刷盤不轉的原因
一、 接通電源,打開刷盤開關,若電機沒有聲響。刷盤不轉的大概原因是:1) 洗地機電源不通。
2) 洗地機過載開關跳閘。
3)洗地機繼電器損壞。
4)洗地機控制電路板損壞。
5)洗地機刷盤電機損壞。
二、接通電源,打開刷盤電機開關,若刷盤電機有聲響,而刷盤不轉或無力的原因是:
1)洗地機如是皮帶傳動的,則皮帶磨損或松動。
2)洗地機若是齒輪傳動,則是齒輪損壞。
3)洗地機刷盤電機進水或受潮,導致絕緣性破壞,電機無力。
配件耗材相關產品
原裝適配旭潔洗地機,X530手推式洗地機、X750手推式洗地機、X971駕駛式洗地機、X970小型駕駛式洗地機等產品。
- 生產廠家直銷
- 十余年專注研發生產
- 使用壽命長
- 免費維修
原裝適配旭潔洗地機,X530手推式洗地機、X750手推式洗地機、X971駕駛式洗地機、X970小型駕駛式洗地機等產品。
- 生產廠家直銷
- 十余年專注研發生產
- 使用壽命長
- 免費維修
原裝適配旭潔洗地機,X530手推式洗地機、X750手推式洗地機、X971駕駛式洗地機、X970小型駕駛式洗地機等產品。
- 生產廠家直銷
- 十余年專注研發生產
- 使用壽命長
- 免費維修
原裝適配旭潔洗地機,X530手推式洗地機、X750手推式洗地機、X971駕駛式洗地機、X970小型駕駛式洗地機等產品。
- 生產廠家直銷
- 十余年專注研發生產
- 使用壽命長
- 免費維修
原裝適配旭潔洗地機,X530手推式洗地機、X750手推式洗地機、X971駕駛式洗地機、X970小型駕駛式洗地機等產品。
- 生產廠家直銷
- 十余年專注研發生產
- 使用壽命長
- 免費維修



操作使用視頻






贛公網安備 36010902000366號

